ภาพประกอบจาก TMCNet
ท่ามกลางการแข่งขันและการพัฒนาเทคโนโลยีในธุรกิจ e-commerce ที่เป็นไปอย่างรวดเร็วและดุเดือด หลายๆ คนคงคิดว่าการแข่งขันคงอยู่ที่ราคาและบริการระหว่างและหลังการซื้อเป็นหลัก แต่ Amazon ดูเหมือนจะไม่เชื่อและกำลังจะฝ่าแนวคิดนี้แล้ว โดยล่าสุดยักษ์ใหญ่ของโลกรายนี้ตั้งใจจะเข้าไปให้บริการตั้งแต่”ก่อน”ที่ลูกค้าจะซื้อด้วยซ้าไป
Amazon เพิ่งได้รับสิทธิบัตรใหม่ในเดือนธันวาคมที่ผ่านมา โดยบริษัทได้เรียกมันว่า “anticipatory shipping” หรือการส่งสินค้าแบบคาดการณ์ไว้ล่วงหน้า ซึ่งเป็นวิธีการส่งสินค้าก่อนที่ลูกค้าจะกดสั่งซื้อบนหน้าเว็บ โดยวิธีการส่งสินค้าแบบนี้ถือว่าจะช่วยลดเวลาในการส่งสินค้าลงและทำให้ลูกค้าไม่รู้สึกอยากที่จะต้องไปดูของในร้านก่อน
ยักษ์ใหญ่โลก e-commerce ยังได้ระบุว่า กระบวนการนี้จะนำสินค้าใส่กล่องและเริ่มกระบวนการส่งโดยคาดการณ์จากผลิตภัณฑ์ที่ลูกค้ามีแนวโน้มที่จะต้องการโดยดูจากประวัติในการซื้อ, การค้นหาสินค้า, รายการสินค้าที่ลูกค้าบันทึกว่าอยากได้, สินค้าอื่นๆ ที่ถูกเลือกไว้พร้อมๆ กัน, ประวัติการคืนสินค้า รวมถึงระยะเวลาที่ลูกค้าเลื่อนเมาส์อยู่บนสินค้าใดๆ ประกอบด้วย ซึ่งสินค้าที่บรรจุพร้อมส่งแล้วจะไปรออยู่ที่ศูนย์กระจายสินค้าหรือแม้แต่บนรถบรรทุกจนกระทั่งคำสั่งซื้ออย่างเป็นทางการมาถึง
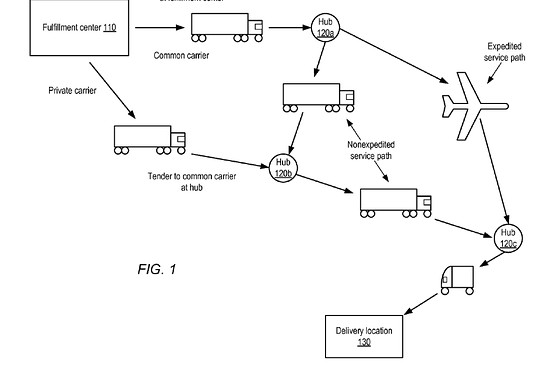
ภาพประกอบที่ Amazon ใช้ในการขอสิทธิบัตรซึ่งเป็นกระบวนการในการขนส่งดังกล่าว
Amazon ได้มีความพยายามที่จะลดเวลาเพื่อส่งสินค้าให้กับลูกค้าให้ได้ภายในวันเดียวกันหรือภายในวันถัดไป โดยความพยายามล่าสุดที่ผ่านมาก็คือการใช้เครื่องบินเล็กแบบบังคับไร้สายในการส่งสินค้าในระยะใกล้ๆ แต่การมาของเทคโนโลยีใหม่ของ Amazon ครั้งนี้ก็ถือว่าอยู่ในกระแสที่หลายๆ บริษัทพยายามจะทำเช่นเดียวกัน โดยการพัฒนาเทคโนโลยีการคาดการณ์เพื่อลงมือทำล่วงหน้านั้นมีบางตัวอย่างที่ได้ออกมาก่อนหน้านี้แล้ว เช่น ตู้เย็นที่สามารถแจ้งเตือนเจ้าของว่าต้องซื้อนมหรือผลิตภัณฑ์อื่นๆ ได้ก่อนที่จะหมด
Amazon คงจะต้องใช้เวลาในการทดลองและปรับปรุงกระบวนการอีกสักพักกว่าที่จะสามารถใช้งานได้อย่างมีประสิทธิภาพและภายใต้ต้นทุนที่เหมาะสมได้ ระหว่างนี้ เรามาติดตามในบ้านเรากันด้วยดีกว่าครับว่า e-commerce บ้านเราจะมีอะไรใหม่ๆ เพื่อกระตุ้นให้ตลาดเติบโตได้มากกว่าที่เป็นอยู่
ที่มา: The Wall Street Journal




